一、應用范圍????
濟南思明特科技有限公司生產的不透性石墨管水壓爆破試驗機適用于不透性石墨管在充滿液體的環境中進行升壓、保壓、降壓、爆破等試驗。不透性石墨管水壓爆破試驗機管路系統采用非焊接式連接。測試流體系統和驅動流體系統分離、測試介質多樣化。滿足實驗標準GB/T 13465.6-2009。廣泛應用于各種需要用到不透性石墨管的領域,如化工、石油、制藥等。在這些領域中,石墨管通常被用作輸送腐蝕性液體或氣體的管道,因此其耐壓和爆破性能至關重要。通過使用不透性石墨管水壓爆破試驗機進行測試,可以確保石墨管的質量和可靠性,從而保障生產安全和產品質量。

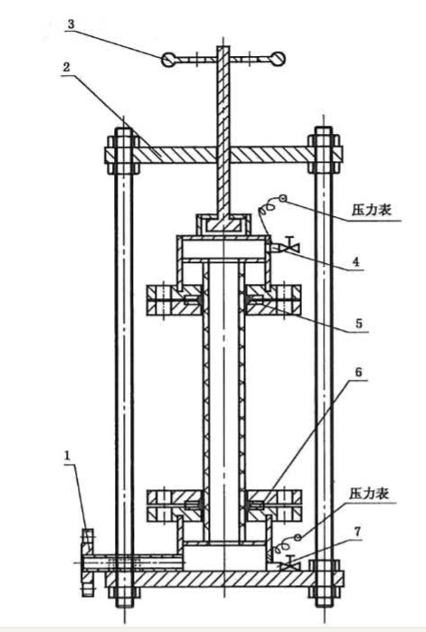
1.進水口。2.打壓機。3.手輪。4.放空閥。5.o型密封圈。6.法蘭。7.排凈閥
二、技術參數
1.試驗壓力:0-20MPa;
2.試驗介質:清水;
3.工作溫度:常溫;
4.升壓速率:1-2MPa;
三、石墨管水壓爆破試驗試驗臺特點
1. 采用計算機控制,試驗穩定可靠。
2. 全自動控制,可顯示壓力曲線,保存實驗數據。
3. 曲線顯示:可實時顯示壓力-時間曲線。
4. 配置有專用工裝可以用于檢測不同的產品。
3.實驗完畢后:輸出實驗報告,保存實驗數據。
四、型號選擇
產品名稱 |
石墨管水壓爆破試驗測試臺 |
產品型號 |
SUP_SM20 |
基本原理 |
通過計算機控制升壓壓力,升壓時間,保壓時間,自動采集壓力變化數值,并實時軟件顯示,輸出實驗報告 |
性能參數 |
試驗壓力 |
0~20MPa(壓力可選) |
控壓精度 |
試驗壓力值上限的+2%,下限的-1% |
壓力值分辨率 |
0.1bar |
曲線顯示 |
計算機實時顯示 |
試驗介質 |
水 |
操作方式 |
計算機控制 |
結構組成 |
循環系統,壓力控制系統,電腦控制 |
適用范圍 |
石墨管 |
相關產品:

管材爆破試驗機適用于各種汽車軟管、膠管、空調管、汽車總成等產品的耐壓、爆破性能的測試。用于各種型號的管件的爆裂壓力測定和耐壓時間測定。其廣泛應用于質量檢測單位、各種車零部件制造單位、產品質量檢測站、科研院校等各種軟管的生產、開發研究等領域。壓力試驗系統,由加壓系統和控制、顯示系統組成。
更多詳情請點擊:管材爆破試驗機
xiaofangshiyanji-x
其他產品:呼吸器綜合校驗儀是用于檢測呼吸器的各項性能能,包括全面罩泄漏檢測、整機氣密性測試、供氣閥性能測試、高壓部分泄漏測試、呼吸器動態呼吸阻力測試、報警器報警壓力測試、壓力表精度測試、減壓器輸出壓力和壓力變化測試,安全閥開啟壓力、全排氣壓力和關閉壓力測試,呼吸器外觀檢驗。根據試驗標準正壓式消防空氣呼吸器標準(GA124)。
鋼管水壓試驗系統 U形管水壓試驗機 軟管靜壓試驗機 金屬管液壓試驗機 航空軟管試驗機 不銹鋼卡壓式管件水壓試驗 管材靜液壓試驗機 不銹鋼管氣密性試驗機 套管、油管扣氣密封檢測試驗臺 空氣軟管pvt試驗臺 汽車軟管試驗臺
相關公司新聞:
石墨管水壓爆破試驗機用在國家石墨產品質量監督檢驗中心

壓力單位的換算關系MPa,kPa,bar,psi
水壓與氣壓的壓縮率關系
水壓試驗與氣壓試驗的區別
|